Mechanical installation
Additional information
- Installation notes
- Installation requirements
- Minimum clearance and mounting position
- Arrangement of the axis modules within the axis system
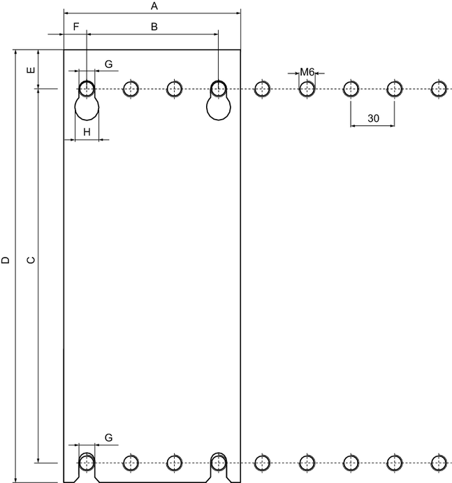
- Preparing the control cabinet back panel
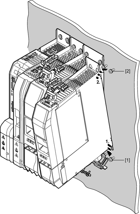
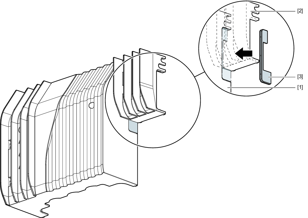
- Installing the modules
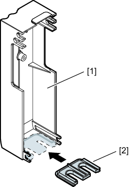
- Installing the shield plate
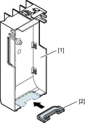
- Removing the safety cover
- Removing the touch guard
- Installing connections
- Insert closing cover in touch guards
- Installing touch guard
- Installing front cover and safety cover
- Removing modules
- Assembly and disassembly of MOVI-C® CONTROLLER UHX45A from master module
- Installing a card
- Installing braking resistors
- Installing the line choke
- Installing the line filter




















































