Como podemos ajudar?
Temas importantes
Colocação em operação
Sequência de colocação em operação
Configuração
Ajustes básicos
Operação
Modos de operação
Gerenciamento de irregularidades
Códigos de irregularidade
Novos conteúdos de ajuda
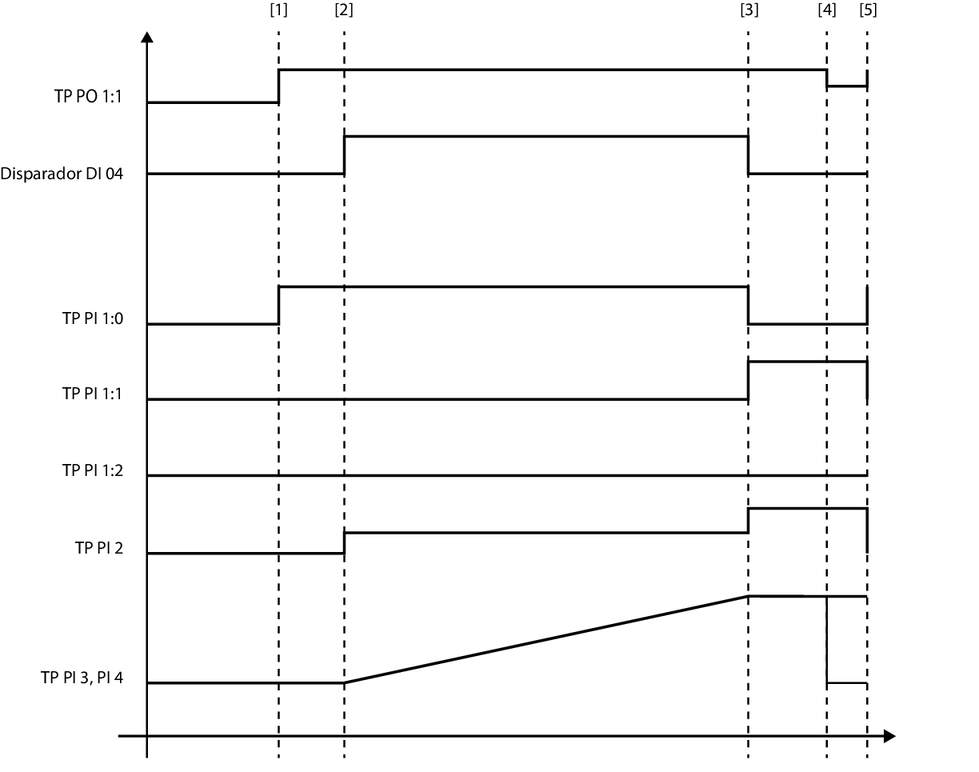
Verificar controle da interface do módulo
Saber mais...
Projetos de exemplo
Saber mais...
Canal de parâmetro
Saber mais...
MOVIKIT® Positioning Drive, Velocity Drive
Idioma
Deutsch
English
Français
Español
Brasileiro
Italiano
汉语
SEW-EURODRIVE
Página inicial