¿Cómo podemos ayudarle?
Temas importantes
Puesta en marcha
Procedimiento de puesta en marcha
Configuración
Ajustes básicos
Funcionamiento
Modos de funcionamiento
Gestión de fallos
Códigos de fallo
Nuevos contenidos de ayuda
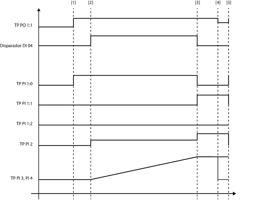
Comprobación del control de la interfaz del módulo
Más información...
Proyectos de ejemplo
Más información...
Canal de parámetros
Más información...
MOVIKIT® Positioning Drive, Velocity Drive
Idioma
Deutsch
English
Français
Español
Brasileiro
Italiano
汉语
SEW-EURODRIVE
Principal