Technical data
Additional information
- Markings
- General technical data
- Environmental conditions
- Technical data of the MCC91A.. basic device 3 × AC 200 – 500 V
- Technical data of the MCC91A.. basic device 1 × AC 200 – 240 V
- Electronics data
- CFX11A-E gateway for EtherNet/IP™ and Modbus TCP
- CFX11A-N gateway for PROFINET
- CFX11A-S gateway for EherCAT®/SBusPLUS
- CFC11A communication module
- CSO safety options
- Technical data – functional safety
- CDM11A diagnostic module
- CBG01A keypad
- CBG11A keypad
- CBG21A keypad
- CBG22A local keypad
- COG11A door mounting frame
- USM21A interface adapter
- CLH21A shield plate extension
- CLH31A and CLH41A support plates with braking resistors
- CLH51A and CLH61A support plates for mounting rail installation
- BW../BW..-T braking resistors
- NF.. line filter
- ND.. line choke
- HF.. output filter
- HD.. output chokes
- Standard accessories
- Connectors
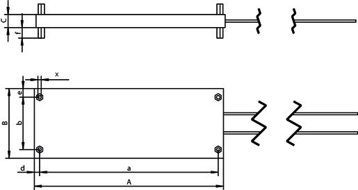
- Dimension drawings











































