Installation with retaining plate
- Cable side: 11 mm hexagon
- Opposite side: M8 female thread
- Mounting hole position: Retaining plate on cable side
The following dimensions are recommended for the retaining holes:

Proceed as follows:
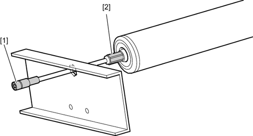
Start at the cable side:
- Guide the connector [1] and the cable through the profile hole on the cable side.
- Insert the axis [2] into the profile hole on the cable side.

[1] | Connector |
[2] | Axis |
Continue with opposite side:

[1] | M8 screw |
[2] | Axis journal |
- Press the axis journal [2] inwards on the opposite side.
- Secure the axis journal through the profile hole with the M8 screw.
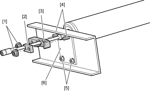
Continue with cable side

[1] | M6 flange nuts |
[2] | Part A |
[3] | Part B |
[4] | Stud bolt |
[5] | M5 screw |
[6] | Base plate |
- Screw the basis plate [6] to the side profile from the outside using 2 M5 screws [5]. Tighten the screws [5] with a tightening torque of 2.3 – 3.5 Nm.
- Thread part B [3] over the cable.
- The locating edge of the axis [4] must be in direct contact with the profile from the inside.
- Place part A [2] from outside onto part B [3] so that they are parallel.
- Tighten part B [3] with an M6 nut [1] with a tightening torque of 8 – 10 Nm.
- Tighten part A [2] with an M6 nut [1] with a tightening torque of 8 – 10 Nm.
- Tighten part B [3] and part A [2] with an M6 nut [1] with a tightening torque of 8 – 10 Nm.

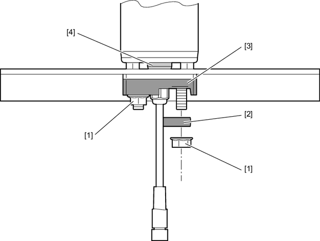
[1] | M6 flange nuts |
[2] | Part A |
[3] | Part B |
[4] | Locating edge of the axis |

Continue with opposite side:
- Grip the axis journal [2] from inside on the opposite side with a suitable tool and tighten the M8 screw [1] from outside with a tightening torque of 10 – 14 Nm.
