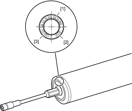
Typenschild und Typenbezeichnung Rollenantrieb ECR
Typenschild

[1] | Typenbezeichnung, z. B: ECR-A2M-50-450-045-Z-B-V0 |
[2] | Spannung |
[3] | Seriennummer |
Typenbezeichnung
Beispiel: ECR-A2M-50-450-045-Z-A-V1 | |||
|---|---|---|---|
Produktfamilie | EC | EC = Gerätefamilie ECDriveS® | |
Produkttyp | R |
| R = Rolle |
| – |
| |
Gerätevariante |
|
| |
Ausführung | A |
| |
Spannung | 2 |
| |
Motoranschluss | M |
|
|
| – |
| |
Optionale Bremse |
|
|
|
Rollendurchmesser | 50 |
| |
| – |
| |
Einspannlänge | 450 | Einspannlänge in mm | |
| – |
| |
Geschwindigkeitsklasse | 045 | Geschwindigkeit in m/min
| |
| – |
| |
Rohroptionen | Z |
| |
| – |
| |
Achsausführung | A |
|
|
| – |
| |
Übertriebe | V1 |
| |