Ausführung B
- Kabelseite: M12×1.25 auf 11-mm-Sechskant
- Gegenseite: glatte 11 mm Sechskantfederachse
- Befestigungsstelle: Mutter M12
Für die Befestigungslöcher sind folgende Abmessungen empfohlen:

Gehen Sie folgendermaßen vor:
Starten Sie auf der Kabelseite:
- Führen Sie den Stecker [1] und das Kabel durch das Profilloch auf der Kabelseite.
- Legen Sie die Achse [2] in das Profilloch auf der Kabelseite ein.

[1] | Stecker |
[2] | Achse |
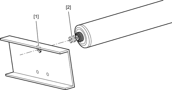
Weiter auf der Gegenseite:

[1] | Profilloch |
[2] | Federachse |
- Halten Sie die Federachse [2] auf der Gegenseite nach innen gedrückt, während Sie die Motorrolle in den Förderer einsetzen.
- Sobald die Motorrolle am Profilloch [1] richtig positioniert ist, lassen Sie die Federachse [2] los.
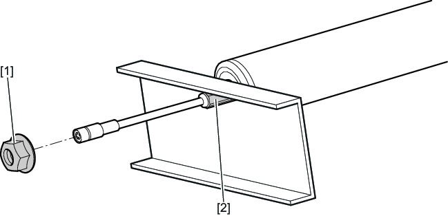
Weiter auf der Kabelseite:

[1] | Flanschmutter M12 |
[2] | Achse |
- Schrauben Sie die Flanschmutter [1] auf der Kabelseite von außen auf die Achse [2] auf.
- Halten Sie die Achse [2] von innen mit einem geeigneten Werkzeug fest, während Sie die Flanschmutter [1] mit einem Anzugsdrehmoment von 50 Nm anziehen.
