Bras de couple pour réducteurs à arbre creux
ATTENTION
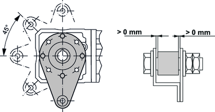
Endommagement du réducteur en cas de montage non conforme du bras de couple.
Endommagement du réducteur.
Ne pas déformer les bras de couple lors du montage.
Le schéma suivant montre un bras de couple côté client monté sans déformation.
❮
❯
MOVIMOT® performance ELV
Langue
Deutsch
English
Us-English
Español
Brasileiro
汉语
Français
SEW-EURODRIVE
Accueil
Installation mécanique
Montage de l'entraînement
Montage des réducteurs F.0. et W.0.
Bras de couple pour réducteurs à arbre creux