Operating modes
INFORMATION

The drive is stopped when switching to another operating mode. It is not possible to switch to another operating mode on the fly.
INFORMATION

The modulo operating modes can be used only if a cycle limit is set in the Limit values configuration menu.
Duty type | dec. | Description |
|---|---|---|
Default | 0 | Causes to stop with the deceleration transferred via fieldbus. The drive is then switched to DefaultStop (FCB 02) and the brake is applied. |
Jog mode | 100 | Position-controlled jogging (FCB 10) |
101 | Speed-controlled jogging (FCB 10) | |
Velocity control | 200 | Speed control (FCB 10) |
Referencing mode | INFORMATION: When using real axes, reference travel is performed on the inverter in FCB 12, for virtual axes on the MOVI-C® CONTROLLER. The set configuration applies to the operation of FCB 12. INFORMATION: If a variable reference offset for virtual axes has been specified once via operating mode 301, the last value transferred is also adopted as the reference offset in operating mode 300 until the next restart of the MOVI-C® CONTROLLER. Therefore, use either operating mode 300 or 301. | |
300 | Reference travel – offset via parameter | |
301 | Reference travel – offset via fieldbus | |
Positioning mode | 400 | Absolute position control (FCB 10) |
401 | Relative position control (FCB 10) | |
402 | Modulo position control – positive (FCB 10) | |
403 | Modulo position control – negative (FCB 10) | |
404 | Modulo position control – short distance (FCB 10) | |
420 | Absolute positioning touchprobe (FCB 10) | |
Brake test | 700 | Brake test (FCB 21) |
Synchronous operation | 1000 | Synchronous operation control (FCB 10) |
1001 | Synchronous operation control (FCB 10) | |
1002 | Synchronous operation control (FCB 10) | |
1003 | Synchronous operation control (FCB 10) | |
1004 | Synchronous operation control (FCB 10) | |
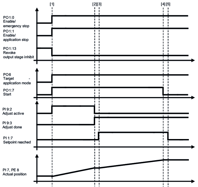
The following chapters provide a cycle diagram for each operating mode to help you better understand the operating principle. They also provide a process sequence with a description of the signals to be set and of the signal states.
- Requirements for cycle diagrams
- Jog mode
- Speed control
- Referencing mode
- Absolute positioning mode
- Relative positioning mode
- Modulo positive positioning mode
- Modulo negative positioning mode
- Modulo positioning mode – optimized direction
- Absolute positioning touchprobe
- Synchronous operation
- Synchronous operation with automatic adjustment








