Gerät montieren
Zur mechanischen Befestigung gibt es folgende Möglichkeiten:
Befestigung mit Montagewinkeln
Befestigung über die Durchgangsbohrungen
Weiterführende Informationen
Befestigung mit Montagewinkeln
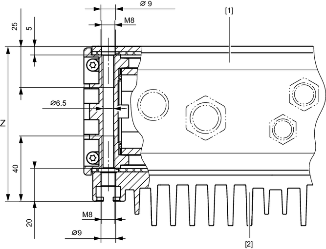
Befestigung über Durchgangsbohrungen
❮
❯
MOVIPRO® technology DFC
Sprache
Deutsch
SEW-EURODRIVE
Home
Mechanische Installation
Gerät montieren