Desmontaje
AVISO

El kit de montaje para la fijación del eje del cliente que se ilustra representa una sugerencia que SEW‑EURODRIVE le proporciona.
- Compruebe si esta estructura puede compensar las fuerzas axiales que se presenten.
- En casos de aplicación especiales se debe utiliza una construcción distinta para la fijación axial.
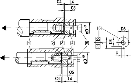
La siguiente imagen muestra el kit de montaje/desmontaje de SEW‑EURODRIVE.

[1] | Eje del cliente |
[2] | Arandela de extracción |
[3] | Tuerca con protección anti-torsión para el desmontaje |
[4] | Circlip |
[5] | Tornillo de fijación |
La siguiente tabla muestra las dimensiones y las referencias de pieza del kit de montaje/desmontaje:
Tipo de reductor | DH7 | C4 | C5 | C6 | U-0.5 | T -0.5 | D3-0.5 | L4 | MTornillo de fijación | Kit de montaje y desmontaje |
|---|---|---|---|---|---|---|---|---|---|---|
mm | mm | mm | mm | mm | mm | mm | mm | Ref. de pieza | ||
MGFA.1-..-CSólo en combinación con MOVIGEAR® classic | 20 | 5 | 6 | 15.5 | 5.5 | 22.5 | 19.7 | 25 | M6 | 6436838 |
MGFA.1-..-C MGFA.2-..-C | 25 | 5 | 10 | 20 | 7.5 | 28 | 24.7 | 35 | M10 | 6436846 |
MGFA.2-..-C MGFA.4-..-C | 30 | 5 | 10 | 25 | 7.5 | 33 | 29.7 | 35 | M10 | 6436854 |
MGFA.2-..-C MGFA.4-..-C | 35 | 5 | 12 | 29 | 9.5 | 38 | 34.7 | 45 | M12 | 6436862 |
MGFA.2-..-C MGFA.4-..-C | 40 | 5 | 12 | 34 | 11.5 | 41.9 | 39.7 | 50 | M16 | 6436870 |