Wie können wir helfen?
Wichtige Themen
Projektierungshinweise
Lizenzierung
Inbetriebnahme
Inbetriebnahmeablauf
Betrieb
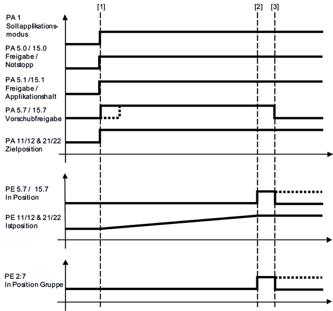
Steuerwort MOVIKIT
®
StackerCrane
Fehlermanagement
Fehlercodes
Neue Hilfeinhalte
Optimierungsmonitor
Mehr erfahren...
Kopfantrieb im Regalbediengerät
Mehr erfahren...
MOVIKIT® StackerCrane effiDRIVE®
Sprache
Deutsch
English
SEW-EURODRIVE
Home