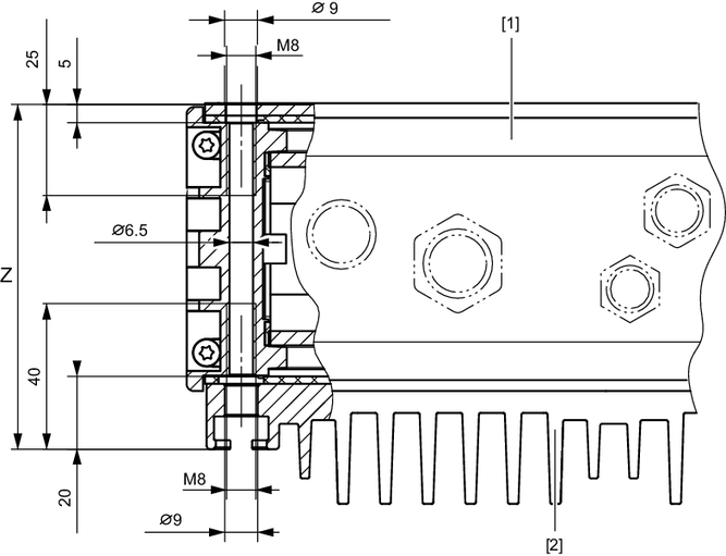
Befestigung über Durchgangsbohrungen
Um das Gerät zu befestigen, verfügt es in den Eckprofilen über 4 Durchgangsbohrungen mit einem Durchmesser von 6.5 mm und beidseitigen Gewinden M8.
Das folgende Bild zeigt den Aufbau der Durchgangsbohrung in mm:

[1] | Gerät |
[2] | Kühlrippen |
Z | Höhe Durchgangsbohrung + T-Nut, siehe Maßbilder im Produkthandbuch > Kapitel Technische Daten |
Weiterführende Informationen