Betrieb

Weiterführende Informationen
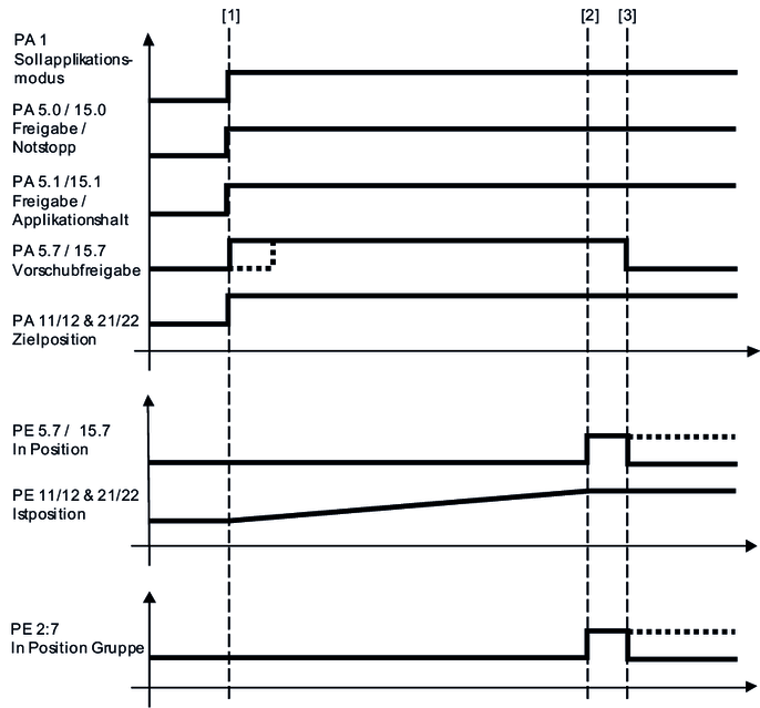
  • Betriebsarten
  • Steuerwort MOVIKIT® StackerCrane
  • Steuerwort MOVIKIT® MultiAxisController
  • Überwachungsfunktionen
  • Weitere Funktionen
  • Simulation
  • Allgemeine Betriebshinweise

SEW-EURODRIVE GmbH & Co KG

Ausgabe: 12 / 23

© Copyright: 2024

Stichwortverzeichnis

MOVIKIT® StackerCrane effiDRIVE®

Sprache

  • Deutsch
  • English
SEW-EURODRIVE LogoSEW-EURODRIVE
  • Home
  • Betrieb