Betriebsarten
HINWEIS

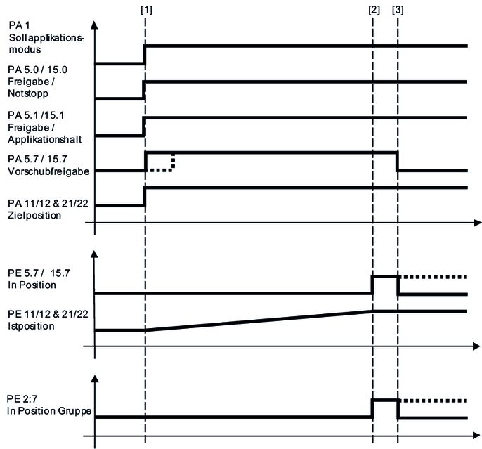
Voraussetzung für alle Betriebsarten ist die Freigabe der Achsen über die Enable-Bits Freigabe / Notstopp und Freigabe / Stopp an benutzerdefinierten Grenzen im Steuerwort. Nähere Informationen dazu finden Sie in den Kapiteln Steuerwort MOVIKIT® StackerCrane und Prozessdatenbelegung.
Die Betriebsart wird über ein Prozessdatenwort für alle untergeordneten Achsen des Softwaremoduls festgelegt. Das Umschalten der Betriebsart erfolgt im Stillstand.
Das Softwaremodul verfügt über folgende Betriebsarten:
Betriebsart | Dez | Beschreibung |
|---|---|---|
Default | 0 | Freigeben oder Deaktivieren der Achsen |
Tippbetrieb | 100 | Manuelles Verfahren der Achsen mittels der Bits Tippen positiv, Tippen negativ und entsprechender Dynamikparameter. |
Nocken-Tippbetrieb | 130 | Manuelles Verfahren der Achsen mittels der Bits Tip-pen positiv, Tippen negativ und entsprechender Dynamikparameter unter Berücksichtigung der konfigu-rierten Geschwindigkeitsnocken an den Gassenenden. |
Referenzierbetrieb | 300 | Schreiben eines konfigurierten Referenz-Offsets auf die Istposition |
301 | Schreiben eines über Bus vorgegebenen Referenz-Offsets auf die Istposition | |
Positionierbetrieb | 400 | Nicht energieoptimiertes Positionieren der Achsen |
Nocken-Postionierbetrieb | 430 | Nicht energieoptimiertes Positionieren der Achsen unter Berücksichtigung der konfigurierten Geschwindigkeitsnocken an den Gassenenden. |
Energieoptimiertes XY-Positionieren | 1200 | Energieoptimiertes Positionieren der Achsen |
Mechanikoptimiertes Positionieren | 1210 | Diagonales Positionieren durch Reduzieren der Geschwindigkeit einer Achse. |
Externer Bremsentest | 1300 | Vorbereitung des externen Bremsentests Der Bremsentest wird über die Sicherheitskarte konfiguriert und über den sicheren Bus oder die sicheren Eingänge angesteuert. |
Zur Verdeutlichung der Funktionsweise finden Sie in den folgenden Kapiteln zu jeder Betriebsart ein Taktdiagramm sowie den Prozessablauf mit einer Beschreibung der zu setzenden Signale und der Signalzustände.








